4 تغريدة 9 قراءة Apr 19, 2023
لو بحثت عن هذا الرمز في غوغل :
US 6506148 B2
فستجد براءة إختراع مضمونها :
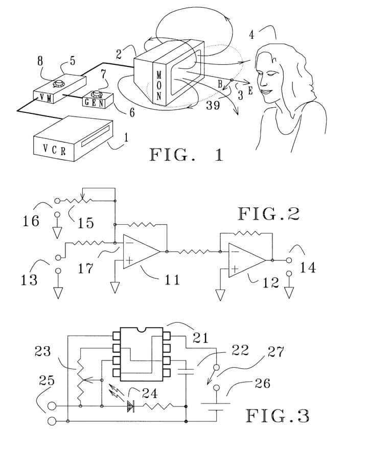
التلاعب بالجملة العصبية للإنسان عن طريق الجلد و بواسطة نبضات صور التلفزيون والكومبيوتر بتردد 0.1 إلى 15 هيرتز .
الملخص : في طرق التحفيز الكهربائي هذه ، ⬇️
يتم تطبيق المجال الكهربائي الخارجي في الغالب على الرأس ، بحيث يتم تحفيز التيارات الكهربائية في الدماغ بالطريقة الفيزيائية التي تحكمها الديناميكا الكهربائية ، يمكن إحداث التأثيرات الفيزيولوجية بهذه الطريقة بواسطة مجالات كهربائية ضعيفة جدًا ، إذا تم نبضها بتردد قريب من هرتز. ⬇️
تشمل الآثار الملحوظة تدلي الجفون ، والاسترخاء ، والنعاس ، والشعور بالضغط في نقطة مركزية على الحافة السفلية للحاجب ، رؤية أنماط متحركة من اللون الأرجواني الداكن والأصفر المخضر مع إغلاق العينين ، وابتسامة نشطة ، وشعور بالتوتر في المعدة ، وبراز رخو مفاجئ ، وإثارة جنسية ، ⬇️
اعتمادًا على التردد الدقيق المستخدم ، ومنطقة الجلد التي يتم تطبيق الحقل عليها .
البحث طويل جدآ لكنه خطير ويمكن للمهتمين و المختصين العرب قراءته للأهمية.

جاري تحميل الاقتراحات...