ABDULMOHSEN
ABDULMOHSEN

@E_abmohsen

22 تغريدة 199 قراءة Jul 24, 2020
بسم الله الرحمن الرحيم ..
كما وعدت إن شاء الله في هذا الثريد راح أتكلم باختصار شديد عن معلومات سريعة تم عرضها في التدريب الصيفي "عن بعد"
ممكن تكون المعلومات في مواضيع مختلفة لكن جميعها أساسية ولازم أي طالب او مهندس او فني كهرباء يكونوا عارفينها .
تابع معي ...
نبدأ مع تاريخ الكهرباء باختصار :
اول محطة طاقة هي التي انشأها توماس اديسون عام 1882 وكانت تعمل على 120V DC
عام 1888 قام العالم نيكولا تسلا بإكتشاف الـ AC Current
وأول محطة AC تم انشاءها عام 1893 في امريكا
تنقسم الشبكة الكهربائية الى ٣ أجزاء رئيسية وهي التوليد والنقل والتوزيع ،، وتختلف مستويات الجهود في كل جزء ،، فـ التوليد MV والنقل HV, EHV, UHV والتوزيع يكون LV
وتختلف الأنظمة حول العالم في التردد فبعض الأنظمة تعمل على 50Hz والبعض الآخر 60Hz طبعاً النظام عندنا في السعودية 60Hz
اهم ثلاث مصادر للطاقة هي :
١. الوقود الاحفوري ويتضمن ( الفحم والنفط والغاز الطبيعي ).
٢. الطاقة المتجددة ومن اهم اشكالها : الطاقة الشمسية والرياح وباطن الارض والطاقة الحيوية والمد والجزر وغيرها .
٣. الطاقة النووية : هي ناتج إنشطار او إندماج ذرات اليورانيوم .
نظم نقل الطاقة :
لنقل الطاقة الكهربائية توجد ثلاث انواع من الكيابل وهي :
١. الكيابل الأرضية او Underground cable : وتستخدم داخل المدن والاحياء للحفاظ على المنظر العام وعدم اعتراضها بالمباني وغيرها
٢. الكيابل البحرية او Submarine cable : تستخدم لنقل الطاقة تحت سطح الماء وغالبا تستخدم في نقل الطاقة من مزارع الرياح البحرية وفي الربط بين المناطق والجزر وغيرها
٣. الخطوط الجوية او over head lines ومن مميزاتها نقل الطاقة بكميات كبيرة ولمسافات طويلة وبأقل تكلفة وسهولة استكشاف الاعطال واصلاحها
مراكز التحكم الإقليمية :
توجد 5 مراكز تحكم إقليمية في المملكة العربية السعودية من شأنها التحكم في نقل الكهرباء والتشغيل والصيانة للنظام بالكامل وإعداد خطط للعمل حال الـ Blackout وغيرها من المهام الأخرى .
انظمة الحماية ومحولات التيار :
يقوم الـ CT والـ VT بتحويل التيار والجهد إلى قيم صغير يمكن التعامل معها من خلال اجهزة الحماية واجهزة القياس .
يتم توصيل الـ CT على التوالي مع المعدة اما الـ VT فيتم توصيله على التوازي .
توجد 4 انواع من محطات النقل وهي كالآتي :
1. Outdoor substation (AIS): تكون في منطقة مفتوحة وقليلة التكلفة وسهلة استكشاف الاعطال ويكون العازل المستخدم هو الهواء.
2. Indoor substation (GIS): تكون في مبنى (منطقة مغلقة) وعالية التكلفة والعازل المستخدم هو غاز الـ SF6.
3. Highly Integrated Switchgear (HIS): هي محطات هجية بين مزايا النوعين السابقين (تكون المغذيات المعزولة بالغاز في الهواء الخارجي).
4. Substations Automation System (SAS): هي الجيل الجديد من المحطات التي تستخدم الالياف الضوئية للتحكم ونقل البيانات .
الترانزفورمر (Transformer):
يقوم بتحويل الجهد من مستوى الى مستوى آخر يكون إما
Stepped Up
او
Stepped Down
حسب الـ Turns Ratio
ويختلف حسب نوع الفيز
Single or Three Phase
السيركت بريكر (Circuit Breaker ) :
هو مفتاح لتوصيل وفصل الدائرة الكهربائية وهو المعدة الوحيدة التي لها القدرة على فصل الدائرة .
Breaker and half :
هو تصميم حديث يستخدم في التوزيع لتوفير التغذية للحمل من اكثر من مصدر وللحفاظ على الشبكة عالية الموثوقية ومرنة .
الرسوم الكهربائية:
انواع الرسوم الكهربائية هي كالتالي:
1. Single line diagram
2. Terminal diagram
3. Block diagram
4. Schematic diagram
وتستخدم الرسومات لعدة اغراض منها : التمديد والتعديل والتحسين والاصلاحات وغيرها
تستخدم علامة الـ (-) لتحديد الاجهزة في الرسومات الكهربائية
وعلامة الـ (+) لتحديد المواقع ( موقع كل جهاز منفصلاً )
وعلامة (=) لتحديد ( التصنيف ) اي المستوى الاعلى ويتضمن اكثر من موقع
@DrawingFareed
صيانة معدات التوزيع:
الانواع الرئيسية لاختبارات المكونات الرئيسية :
١. اختبارات نوعية : ارتفاع درجة الحرارة ، مستوى الضوضاء ...
٢. اختبارات روتينية : نسبة الجهد ، القطبية ، مفاقيد الاحمال ، مقاومة العزل ...
٣. اختبارات التكليف : توصيل التحكم ، اوامر التشغيل ، العزل ...
٤. اختبارات خاصة : التفريغ الجزئي ، مقاومة دائرة القصر ...
انواع صيانة المعدات الكهربائية:
١. الصيانة الوقائية: الفحص البصري والخدمات الصغيرة والخدمات الرئيسية.
٢. الصيانة التصحيحية: بعد الانقطاعات والحوادث .
٣. الصيانة التنبؤية (التوقعية): لتجنب الأعطال المحتملة.
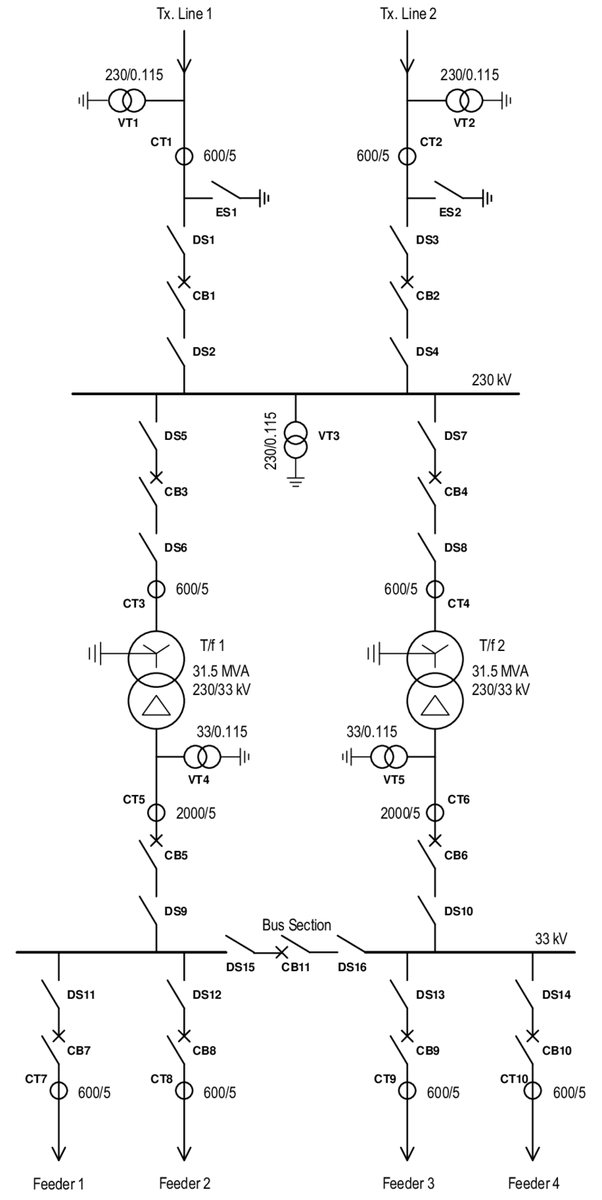
وهذا رسم للشبكة الكهربائية باختصار ..
في الختام أتمنى إني افدت ولو بشيء بسيط ..
وشكراً لكم على المتابعة

جاري تحميل الاقتراحات...